Product added to basket
PARTS CATALOG
Catalog
2014
2014
2013
2012
2011
2010
2009
2008
2007
2006
2005
2004
Accessories
Merchandise
Outlet
NUDA 900-900R SALE ( Disassembled parts of demo motorcycles)
TE-TXC-TC 250-310
TR 650 TERRA-STRADA
TE 449-511
TE-TXC-TC 250-310
WR 250-300
WR-CR 125
Register here!
Log in to your account
0
0.00
Log in to your account
0
0.00
-
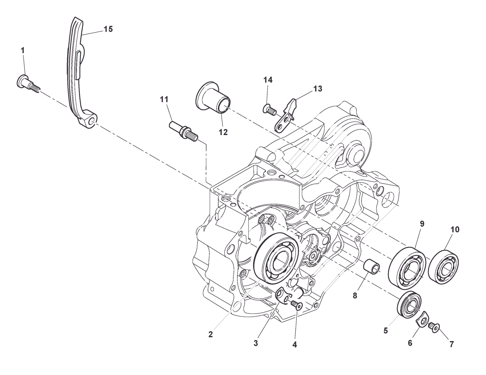
CRANKCASE CARTER
CRANKCASE PARTS
CRANK SHAFT
CYLINDER - PISTON
CYLINDER HEAD
WATER PUMP
CAMSHAFT IN-EX
OIL PUMP
PRIMARY DRIVE CLUTCH
CLUTCH COVER
GEAR SHIFT (TE-TXC)
GEAR SHIFT (TC)
GEAR BOX (TE-TXC)
GEAR BOX (TC)
ALTERNATOR
GENERATOR COVER
STARTING (TE-TXC)
STARTING (TC)
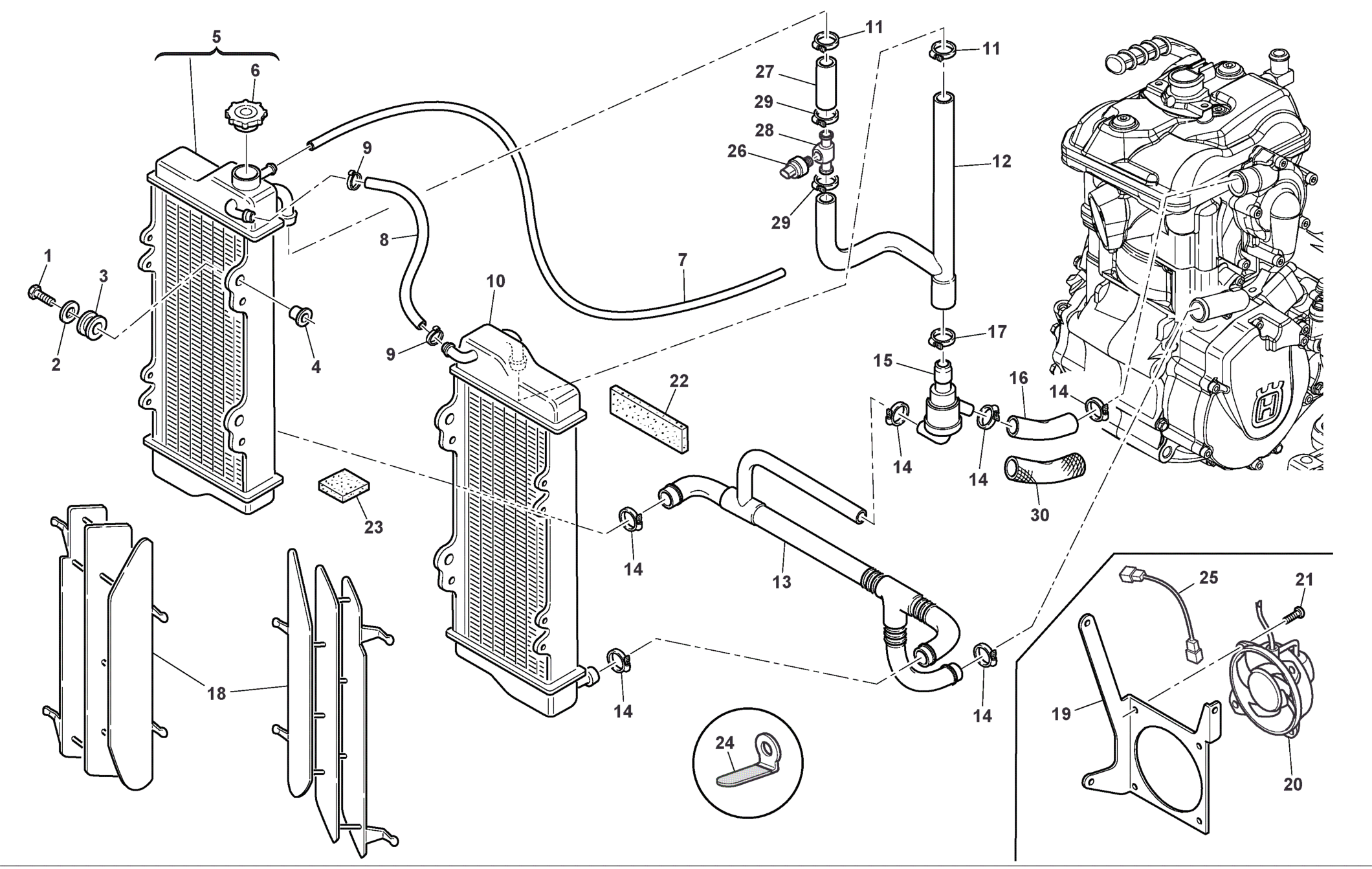
COOLING (TE-TXC)
COOLING (TC)
EXHAUST (TE-TXC)
EXHAUST (TC)
THROTTLE BODY
AIR BOX (TE-TXC)
AIR BOX (TC)
BLOW-BY (250)
BLOW-BY (310)
FUEL TANK (TC)
FUEL TANK (TE-TXC)
FRAME - FOOTRESTS
BODY
HANDLEBAR
FRONT FORK (TE)
FRONT FORK (TE - USA)
FRONT FORK (TC-TXC)
FRONT WHEEL
FRONT BRAKE
REAR SWING ARM
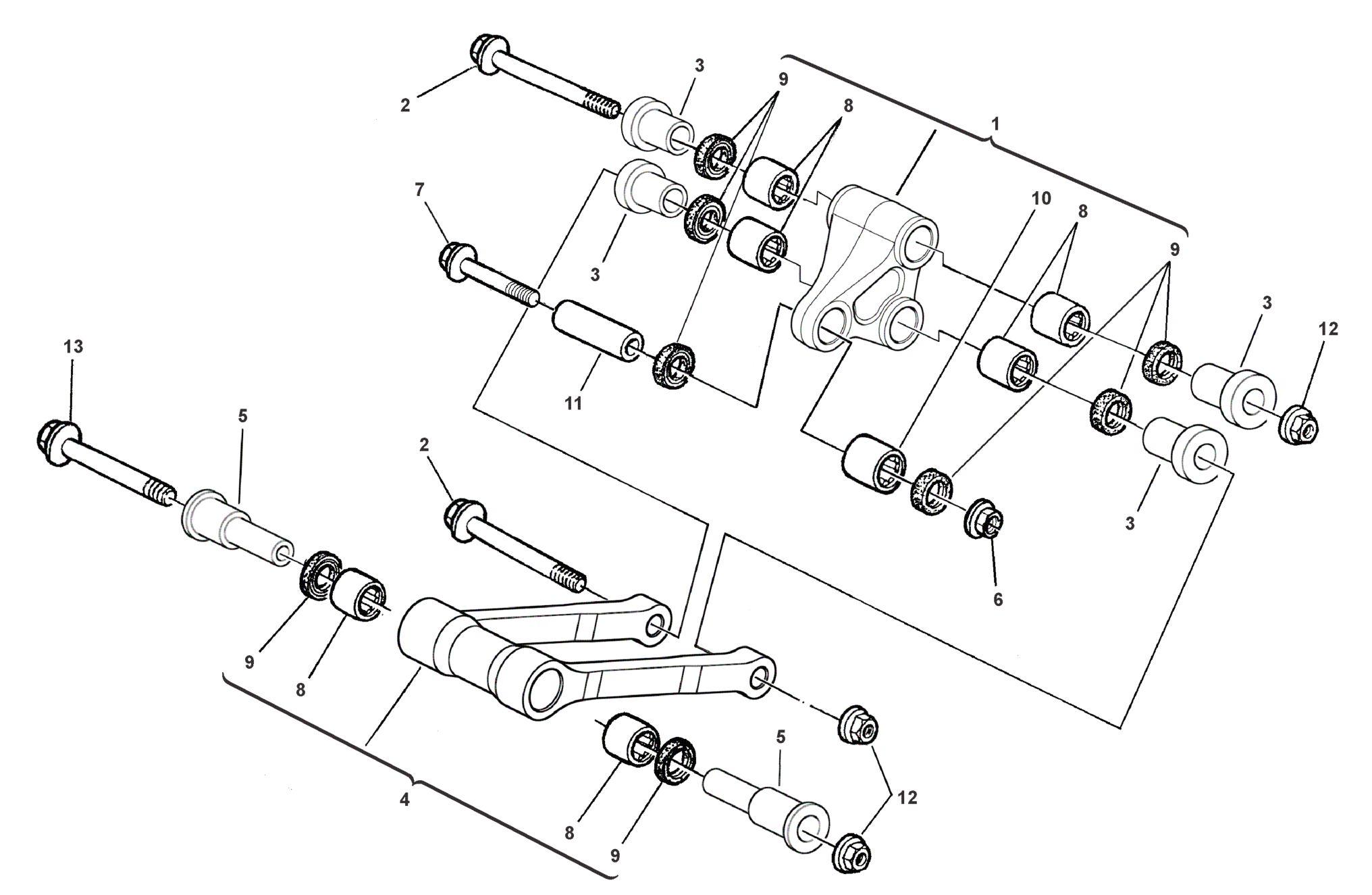
LINKAGE SUSPENSION
SUSPENSION (TE)
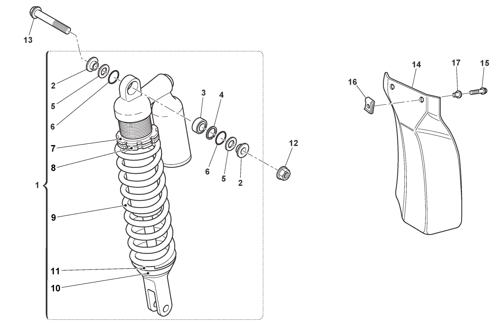
SUSPENSION (TC-TXC)
REAR WHEEL
REAR BRAKE
WIRING HARNESS (TE)
WIRING HARNESS (TXC)
WIRING HARNESS (TC)
IGNITION (TE-TXC)
INSTRUMENTS (TE)
TRANSFERS (TE 250)
TRANSFERS (TE 310)
TRANSFERS (TC 250)
TRANSFERS (TXC 250)
TRANSFERS (TXC 310)
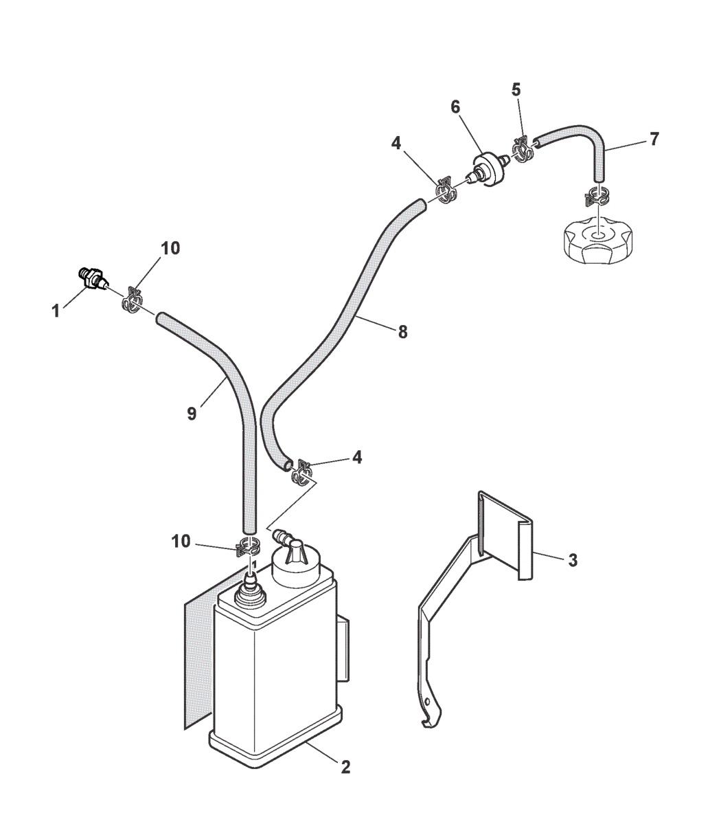
KIT CANISTER
EQUIPMENT
WORKSHOP TOOLS